Temperaturverweigerung |
Christian Heinemann unregistriert
 |
|
Hallo zusammen,
da ich meinen Elfer (3,2 MJ87) erst seit August habe, bin ich noch dabei Erfahrungen zu sammeln und bitte um Nachsicht für meine trivialen Fragen. Neulich als es schön und trocken war, bin ich mal wieder durch die Gegend gefahren. Neben Spaß für mich und Bewegung für den Wagen wollte ich auch den Ölstand messen. Bei 9 °C Außentemperatur hatte ich aber keine Chance. Die Öltemperatur ist nicht über den ersten Strich gekommen, nur knapp ran und das mit Mühe.
Bin ohne Heizung und mit Klimaanlage gefahren und habe mir dabei einen abgefroren, aber weder 10 Minuten im Stand, noch 5 Minuten mit 2000 U/min oder zügiges Fahren auf Landstrassen haben was gebracht. Der Zeiger war immer ca. 2 mm unter dem ersten Teilstrich. Nur stärkere Beschleunigungen mit Vollgas und höhere Drehzahlen bringen tendenziell was. Da ich aber nicht mit 6500 U/min im 2. Gang von Dorf zu Dorf brettern wollte und die A2 hier in der Gegend um 17:00 keine echte Alternative ist, habe ich aufgegeben.
Der vordere Ölkühler ist die ganze Zeit kalt gewesen, Thermostat dürfte also ok sein. Temperatureindruck in Motornähe ist subjektiv ok. Der Öldruck im Leerlauf im „warmen Zustand“ schwankt zwischen 1,5 und 2 bar, bei 2000 U/min liegen 3,5 bar an.
Meine Frage an Euch, ist das normal?
Danke und Gruß,
Christian
|
|
17.11.2008 21:24 |
|
|
|
|
Hallo Christian,
ich halte den Temperaturverlauf bei deinem Fahrzeug für ganz normal, das Öl wird nicht nur vom Front-Ölkühler sondern auch von einem weiteren neben
der rechten Zylinderreihe gekühlt. Die Heizungsluft wird über Wärmetauscher bei den Abgaskrümmern erzeugt, Heizung aus hat es somit wenig Einfluss
auf die Öltemperatur.
Die Warmlaufzeit des Motors dauert unter 10 Grad deutlich länger, bei unter 0 nochmals länger. Darum ist es nicht sinnvoll im Übergang zum- und einschließlich
Winter einen luftgekühlten 911 zu bewegen. Der Verschleiß in der Kaltlaufphase, dazu auch noch Kondensatbildung im Öl und auch fehlende Grip beim fahren,
behindern deutlich den Spaßfaktor.
__________________ Viele Grüße,
Manfred
|
|
18.11.2008 09:45 |
|
|
|
|

Der interne Ölkühler sitzt unmittelbar hinter dem 6. Zylinder, hier die Ansicht aus meinem SC-Motor. Der Kühler
(Hersteller Behr) hat Kühlflächen-Abmessungen 20x15x8 cm und ist von der Wirkkühlfläche rund 4x größer als
beispielsweise der von einem serienmäßigen VW-Käfer und der hat nur den einen bei 3l Öl im System.
__________________ Viele Grüße,
Manfred
|
|
18.11.2008 11:42 |
|
|
HE-Manfred
Moderator
   
Dabei seit: 18.02.2006
Beiträge: 1.406
 |
|
Hallo Christian,
evtl. hast Du ein Problem mit dem Ölthermostaten. Wenn dieser immer offen ist, dann geht das Öl immer über beide Ölkühler.
Somit hast Du durch den Fahrwind eine starke Abkühlung des Motoröls.
Gruss
__________________ HE-Manfred
|
|
18.11.2008 12:56 |
|
|
Christian Heinemann unregistriert
 |
|
Danke für die Antworten.
Ich habe zunächst auch gleich an das Thermostat gedacht, aber da der vordere Kühler kalt bleibt, ist der Kreislauf auch geschlossen.
Die Heizung habe ich abgestellt, weil ich von einer gewissen Kühlfunktion ausgegangen bin. Habe von anderen gehört, dass sie die Öltemperatur durch Zuschalten der Heizung senken konnten (bei plötzlichem Stau nach zügiger Autobahnfahrt im Sommer). Technisch gesehen dürfte die Heizung praktisch keine Wirkung auf die Öltemperatur haben.
Wenn man leichter ran käme, könnte man den hinteren Ölkühler durch eine Blende aus Lochblech teilweise abdecken um den großen Ölkreislauf zu öffnen.
Ich habe aber nicht vor, den Wagen öfter im Winter zu fahren. Nur alle 4 bis 6 Wochen bei guter Witterung und auf salzfreien Strassen. Ich werde versuchen meine Winterfahrten so zu legen, dass ich eine Chance habe das Öl warm zu bekommen.
Gruß,
Christian
|
|
18.11.2008 13:23 |
|
|
HE-Manfred
Moderator
   
Dabei seit: 18.02.2006
Beiträge: 1.406
 |
|
Hallo Christian,
die Prüfung des vorderen Ölkühlers hätte ich auch so durchgeführt. Im Sommer würde ich das ganze nochmal überpüfen.
Gruss
__________________ HE-Manfred
|
|
18.11.2008 14:37 |
|
|
Bernd 904 unregistriert
 |
|
Hallo Christian
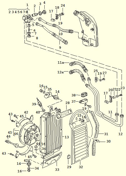
anbei noch einen kleinen Hinweis: Motorölkühler und Zusatzöhlkühler im Radkasten haben getrennt geregelte Thermostaten (unterschiedliche Öffnungstemperaturen).
HE-Manfred hat das evtl. Problem richtig erkannt, jedoch mußt du davon ausgehen,daß das Motorkühlerthermostat (auf Manfred's Bild mit dem Ölkühler oben links teilweise
zu erkennen) sehr wahrscheinlich immer offen steht (rel. häufiges Problem und im Sommer schwer zu erkennen, da die Außentemperatur viel höher ist). Prüfung: Ausbauen
und in einem Wasserkochtopf mit Thermometer (Oma's Einweckgläserkochtopf oder Saunathermometer) Öffnungstemperatur überprüfen (steht auf dem Thermostat oben drauf).
Das Frontölkühlerthermostat saß zumindest bei den älteren Modellen im Radkasten vor dem rechten Hinterrad (4 Ölleitungen angeschlossen).
|
|
19.11.2008 17:17 |
|
|
|
|
Danke für den Hinweis Bernd,
das interne Thermostat sitzt zum Ausbau aber sehr ungünstig unter einem ovalen Aludeckel rechts unmittelbar vor der Kupplung. Zusätzlich ist er auch
noch mit der Gebläseabdeckung vom Ölkühler überbaut. Ob da der Ausbau bei eingebauten Motor klappt, kann ich mir nicht vorstellen. Etwas leichter
zugänglich sitzt der Öldruckschalter etwas neben der Gebläseabdeckung.

In Bild unten Links der Ölkühler, etwas mittiger daneben ^der ovale Aludeckel zeigt das Thermostat nach abmotierter Gebläseführung
Die Bezeichnung auf den Thermostat: 1X 24883000 B2 Behr

Das 2. Thermostat sitzt im hinteren rechten Radkasten oberhalb der Drehstabfeder
__________________ Viele Grüße,
Manfred
|
|
19.11.2008 17:56 |
|
|
Christian Heinemann unregistriert
 |
|
Hallo zusammen,
danke für die Hinweise. Ich fürchte auch, dass ich an das erste Thermostat nicht ran kommen werde. Ich bin davon ausgegangen, dass das erste
Thermostat lediglich den Zulauf zum motornahen Ölkühler regelt.
So verstehe ich den Ölkreislauf, bitte korrigieren:
Ab einer Mindesttemperatur öffnet das 1. Thermostat und damit den kleinen Kühlkreislauf (nur motornaher Kühler). Die Zuleitung zum 2.
Thermostat würde sich dann auch mit warmen Öl füllen. Das warme Öl würde aber nur bis zum 2., noch geschlossenen Thermostat fliessen.
Steigt die Temperatur weiter öffnet das 2. Thermostat und damit der Zulauf zum vorderen Ölkühler. Ist bei mir nicht der Fall, der erste Kühler
scheint ausreichend zu sein.
Wenn das so stimmt würde ein defektes 1. Thermostat dazu führen, dass das Öl sofort durch den 1. Kühler strömt. Die Zuleitung zum 2. Thermostat
müsste aber weiterhin immer so warm sein, wie der Ausgang vom motornahen Kühler. Die Warmlaufphase wird dadurch etwas verlängert, aber nur
weil der 1. Kühler zu früh arbeitet.
Die Temperatur der Zulaufleitung zum 2. Thermostat im rechten hinteren Radlauf kann ich leicht prüfen, die Frage ist ob es was bringt. Habt Ihr eine
Darstellung des Ölkreislaufs? Ich habe im Frère (S. 103) nur eine für den M64-Motor gefunden, und da sind nur 1 Thermostat und Kühler dargestellt.
Danke und Grüße,
Christian
|
|
22.11.2008 14:10 |
|
|
|